|
本周BUF大事件还是为大家带来了新鲜有趣的安全新闻,全球最大肉类供应商遭黑客攻击;安全圈维基百科,WIKI知识大陆正式上线;日本多个政府部门遭遇黑客攻击,大量数据泄漏;蓝牙曝出七个严重漏洞 攻击者可发起中间人攻击。想要了解详情,来看本周的BUF大事件吧! 观看视频
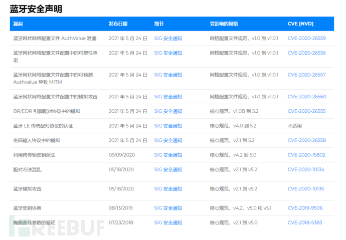
内容梗概全球最大肉类供应商遭黑客攻击5月31日,全球最大肉类加工企业JBS遭到网络攻击,包括来自美国、澳大利亚和加拿大在内的全球多个JBS生产设施都受到影响导致被迫关闭,进入停产状态。JBS表示,公司服务器在5月30日遭到黑客有组织的攻击,导致多个州的业务暂停。目前在解决网络攻击方面取得了重大进展,“绝大多数”肉类食品工厂将于6月3日开始运营,缓解公众对食品价格上涨的担忧。  安全圈维基百科,WIKI知识大陆正式上线啦如何快速定位自己的知识盲区?如何高效检索业内前沿专业术语?如何参与知识共建,实现知识互惠互利?5月28日WIKI知识大陆正式上线,首波上线的WIKI知识大陆分为金融安全、攻防演习、求职考证、单身交友、安全词条五大类,在这里,安全知识分门别类,全面专业,大家可以快速地检索指定内容、更新内容,参与共建共享。旨在为安全从业者答疑解惑,致力成为“安全圈的维基百科”。不管是安全小白,还是安全大佬,一入“安全”深似海,从此“疑惑”是路人。扫描下方二维码添加WIKI知识官,进一步了解“登陆”指南,还有首波福利赠送。  日本多个政府部门遭遇黑客攻击,大量数据泄漏近日黑客入侵了日本富士通开发的一款消息共享软件“ProjectWEB”,导致包括日本政府部门在内的大量客户数据遭到泄露。根据日本国土交通省报告,至少有76000名公务员和业务相关人士,电子邮箱账号、内部信件和网络设置等资料遭外泄。日本政府官员表示,黑客可能是以今年即将召开的东京奥运会和残奥会为目标,因此必须加强网络安全。  蓝牙曝出七个严重漏洞 攻击者可发起中间人攻击近期,美国国家情报系统研究人员在蓝牙Bluetooth Core和Mesh Profile规范中发现多个安全漏洞,攻击者可利用这些漏洞在配对过程中冒充合法设备,并发起中间人攻击。目前,Android开源项目(AOSP)、思科、英特尔、红帽、Microchip Technology和Cradlepoint的产品都受到了这些安全漏洞影响。AOSP称:Android已将该问题评估为Android OS的严重漏洞,并将在即将发布的Android安全公告中发布针对此漏洞的补丁程序。思科也在努力修补影响其产品的漏洞问题。 
|